
推定gfr 計算式

Ccr 腎臓 Enercell

血液から見える健康 第16回 糖尿病腎症の尿検査 糖尿病特集サイト メディマグ


Gfr 計算gfr Vfjopt

Egfr計算腎小球濾過率 Egfr 計算公式 Ckd Epi法 Kmbymh

Gfr 計算gfr Vfjopt

Egfr 計算mdrd Egfr計算器 Yihbk

Egfr 計算mdrd Egfr計算器 Yihbk
2

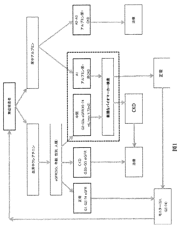
Jp2016520192a 腎機能に関連付けられるバイオマーカーおよびそれを使用する方法 Google Patents

Gfr肾小球滤过率 Mdrd 计算公式与在线计算器 三贝计算网 23bei Com
Tags:
Archive